uCrazy.Ru / Одно из моих увлечений

Одно из моих увлечений

ИМПУЛЬСНЫЙ ЭЛЕКТРОННЫЙ УСКОРИТЕЛЬ



[b]Изобретение относится к ускорительной технике и предназначено для получения мощных пучков заряженных частиц.
Известны устройства генерации мощных импульсных электронных пучков, состоящие из вакуумного диода с катодом, газонаполненной камеры для исследования и фокусировки пучка, накопительного устройства (им обычно является двойная формирующая полосковая или коаксиальная линия), коммутатора, а также источника высокого напряжения, в качестве которого используют генераторы Аркадьева-Маркса или импульсные трансформаторы. Кроме того, для вывода пучка из диода в камеру имеется окно, которое одновременно играет роль анода в диоде.
Недостатком данного устройства является рассогласование низкоомной двойной формирующей линии (ДФЛ) с высокоомным вакуумным диодом. Наибольшей же передаче энергии из формирующей линии в диод соответствует условие, когда сопротивление диода равно волновому сопротивлению формирующей линии.
Наиболее близким к предлагаемому устройству является выбранный нами за прототип наносекундный сильноточный электронный ускоритель с индукторной секцией , выполняющей функции согласующего трансформатора. Для повышения эффективности передачи энергии, запасаемой в формирующей линии сильноточного ускорителя, в энергию электронного пучка использована индукторная секция (согласующий трансформатор), установленная между двойной формирующей линией и сильноточным электронным диодом. Трансформатор включен по схеме повышающего автотрансформатора с коэффициентом трансформации 1:2. Согласующий трансформатор обеспечивает согласование низкого импеданса формирующей линии с высоким импедансом диода.
Недостатком данного устройства является формирование паразитного предимпульса, достигающего 30% амплитуды основного импульса напряжения. Предимпульс снижает долговечность работы анодной фольги и ресурс работы ускорителя. За время паузы между предимпульсом и основным импульсом напряжения (300 - 500 нс.) взрывоэмиссионная плазма заполняет анод-катодный промежуток и при формировании основного импульса напряжения на диоде приводит к контрагированию электронного пучка в анод-катодном промежутке и дуговой стадии разряда формирующей линии. При этом происходит сильная эрозия материала тонкой анодной фольги, что приводит к ее разрушению и выходу из строя электронного ускорителя. Кроме того, наличие предимпульса снижает эффективность передачи энергии формирующей линии в энергию электронного пучка в течение генерации основного импульса напряжения.
Основным техническим результатом предложенного нами изобретения является увеличение ресурса работы ускорителя и повышение эффективности передачи энергии формирующей линии в энергию электронного пучка в течение генерации основного импульса напряжения. Экспериментально нами получено увеличение ресурса работы ускорителя с 10÷15 импульсов до (1÷2) ∙ 104 импульсов без разрушения анодной фольги. Увеличение эффективности передачи энергии формирующей линии в энергию электронного пучка в течение генерации основного импульса напряжения составило 8%.
Основной технический результат достигается тем, что в импульсный электронный ускоритель, включающий генератор импульсного напряжения, двойную формирующую линию, электронный диод и согласующий трансформатор, установленный между двойной формирующей линией и электронным диодом, согласно предложенному нами решению, введен узел принудительного размагничивания сердечника согласующего трансформатора, который размагничивает в начале процесса формирования импульса напряжения и обеспечивает величину тока размагничивания в пределах 150 – 200 А.

Пример конкретного выполнения.


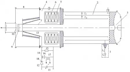
На фиг. 1 показана функциональная схема ускорителя. Газонаполненный генератор импульсного напряжения (ГИН) 1, собранный по схеме Аркадьева-Маркса, содержит семь ступеней конденсаторов К75-74 (40 кВ, 47 нФ) по два в каждой ступени. Собственная индуктивность ГИН ~ 1.5 мкГн. Двойная формирующая линия 2 с деионизированной водой в качестве диэлектрика имеет емкость плеч С1 = С2 = 6.5 нФ. Суммарная емкость двойной формирующей линии равна выходной емкости ГИН. Двойная формирующая линия коммутируется газовым разрядником 3 (зазор 11 мм, давление до 8 атм. технического азота). В масляном объеме 4 помещен согласующий трансформатор, который содержит четыре сердечника 5 (К360х150х25 из пермаллоевой ленты 50НПх0.01). Вокруг сердечников уложено 12 одиночных витков 6, которые равномерно (по азимуту) распаяны к электроду ДФЛ. Сердечники и витки крепятся с помощью диэлектрической втулки и боковых пластин, расположенных на катододержателе 7. К анод-катодному промежутку диода (9- катод, 10- анодная фольга) дополнительно к виткам 6 автотрансформатора подключен виток, образованный катододержателем 7 и корпусом ускорителя 8. Таким образом, диод оказывается включенным по автотрансформаторной схеме с повышением напряжения в 2 раза относительно выходного напряжения ДФЛ.
Для насыщения материала ферромагнитного сердечника трансформатора до стадии формирования основного импульса напряжения введен узел принудительного размагничивания. Он состоит из конденсатора 11, тиристора 12, индуктивности размагничивания 13, развязывающей индуктивности 14, шунтирующего сопротивления 15, защитного диода 16 и дросселя насыщения 17.
Ускоритель работает следующим образом: начальное магнитное состояние сердечника согласующего трансформатора задается током, протекающим по цепи индуктивностей 13 и 14, катододержателя 7 и витков 6 при разряде конденсатора 11. Конденсатор 11 предварительно заряжается от внешнего источника до напряжения, обеспечивающего протекание тока размагничивания величиной 150 – 200 А. После зарядки конденсатора на управляющий вывод 18 тиристора 12 узла размагничивания подается импульс запуска с блока управления ускорителем. Тиристор открывается и начинается процесс разрядки конденсатора. В момент перехода тока из цепи тиристора 12 в цепь диода 16 (см. фиг. 1), дроссель насыщения 17 формирует импульс на запуск генератора импульсного напряжения, после срабатывания которого начинается формирование основного импульса напряжения.
Использование принудительного размагничивания сердечника согласующего трансформатора в начале процесса формирования импульса напряжения позволило значительно снизить амплитуду предимпульса. Выполненные исследования показали, что при увеличении тока размагничивания от 0 до 150 ампер амплитуда предимпульса снизилась с 160 кВ до 10-15 кВ при амплитуде основного импульса напряжения 550 кВ. При увеличении тока размагничивания более 150 – 200 ампер амплитуда предимпульса не меняется. Экспериментально нами получено увеличение ресурса работы ускорителя с 10 ÷ 15 импульсов до (1÷2) ∙ 104 импульсов без разрушения анодной фольги. Кроме того, экспериментально получено увеличение эффективности передачи энергии формирующей линии в энергию электронного пучка в течение генерации основного импульса напряжения с 90% (без принудительного размагничивания) до 98%.
7 декабря 2007 17:44
Вернуться назад