Учитель физики расставил на столе непонятные приборы и соединяет их проводами на клеммах. Чтобы продемонстрировать опыт на завтрашнем уроке старшеклассникам, надо накануне все собрать и проверить. Мы учимся в пятом классе и у нас нет еще такого предмета в учебной программе, но любопытство мальчишек через край и учитель физики разрешает нам присутствовать при этом таинстве в алтаре храма знаний- кабинете физики.
Мы не знаем, что за схему собирает учитель и с нетерпением ждем когда все заработает и нам он расскажет, как там загадочное электричество бегает по проводам.
Вот такие схемы собирали-в нашей приборов и проводов было больше.
В самый разгар сборки схемы выясняется, что на огромном черном приборе -реостате клеммная гайка резьбу не держит и закрепить провод не получается.
Учитель физики просит меня разыскать подходящую гайку в ящике "шурум-бурума" . В углу кабинета стоит шкафчик с стеклянными дверями, а в нем огромный деревянный ящик. Каждый раз, при списании очередного прибора, с него снимали весь крепеж и складывали в этот ящик, называемый "хранилище шурум-бурума".
В поисках нужной гайки я натыкаюсь на странный приборчик:
Мозг пятиклассника еще не перегружен информацией и делает выводы шустрее любого компьютера: раз внутри стеклянной колбочки находится спираль-это лампочка! Спрашиваю учителя:
-А от чего такая странная лампочка?
-Это не лампочка.
-А что же тогда это такое?
-Это практически готовый радиоприемник.
Нашему удивлению не было предела. Радиоприемник же это огромная коробка с кучей непонятных радиодеталей и странных радиоламп. Как эта мелочь пузатая может быть радиоприемником !?!?
Учитель тут же нам рисует знаменитую схему, попутно объясняя назначение каждой "загогулины-детали". Вот и весь радиоприемник
Схема детекторного приемника
-Все понятно? Вопросы есть? Возьми этот прибор домой-сделаешь себе радиоприемник.
Из школы наша ватага деревенских мальчишек возвращалась уже совсем другими. Раньше для нас радиотехника и радиоаппаратура была волшебством и уделом избранных шаманов и колдунов, а тут оказывается все просто и понятно.
По пути домой каждый из нас вспоминает какие детали у него дома могут быть и вечером, проведя ревизию, тащит все что найдено ко мне. Выяснилось, что у нас есть все и даже с избытком. На куске фанеры крепим все это. Тщательно зачищаем и пытаемся припаять провода. Припой упорно не хочет держаться и ложится на места соединения лепешкой. В итоге собрали такую конструкцию, но правда она выглядела гораздо хуже
Тогда в магазинах продавали комнатные спиральные антенны, но зачем тратить зря деньги-мы их сами отлично накручивали на карандаш
Воткнули штырь заземления и протянули провод к нашей собранной схеме. С волнением подключаем антенну... И слышим в наушнике радио "маяк"! Счастливей нас не было никого на свете.
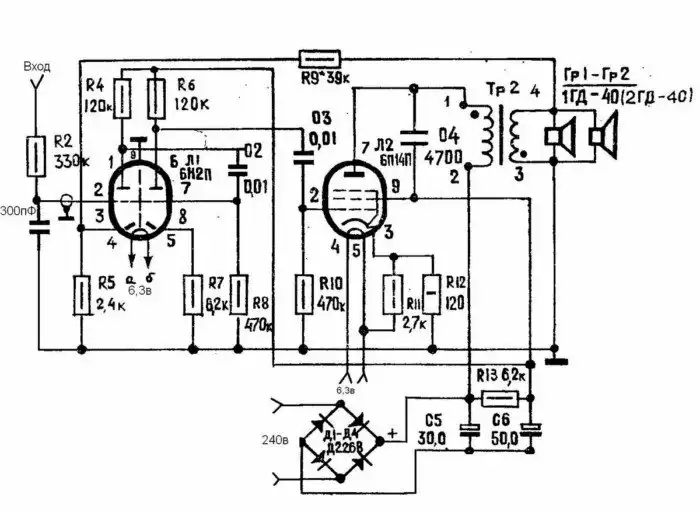
На следующее утро, перед школой дожидаемся учителя физики и наперебой выплескиваем все восторженные эмоции от собранного радиоприемника. Вскоре эмоции улеглись и нам захотелось уже слушать не на маленький наушник, а громко через динамик. Учитель нам дал схему простого двухлампового усилителя от электрофона "Юность-301". Просто эта схема оказалась на тот момент под рукой.
Его мы уже собирали гораздо дольше и он упорно не хотел работать. Очень долго не могли найти причину. Как потом выяснилось, мы перепутали обмотки выходного трансформатора) Пока трудились над усилителем, собрали еще кучу различных схем: пищалки, мигалки и т.д.
Так мы с друзьями подружились с радиотехникой. Долгие вечера колдовства над очередной схемой, в облаках дыма от канифоли, вознаграждались радостью от заработавшей схемы. Теперь уже и не счесть сколько различной аппаратуры было собрано. Дальше судьба разбросала нашу ватагу по всей стране. Так или иначе у всех работа была связана с электроникой.
Сейчас вот думаю: как мог такой маленький и хрупкий диод попасть в огромный ящик с болтами и гайками? Не иначе как судьба подкинула.....
...и главное: ящик "шурум-бурума", правда гораздо меньшего размера, есть и у меня дома)










