Аквалангисты используют аппарат Seabob BlackShadow 730
3 ноября 2016 г. информагентство РИА Новости опубликовало сведения, оглашенные руководством немецкой компании Rotinor. Это предприятие разрабатывает и выпускает системы передвижения для аквалангистов. Подобная техника представляет интерес для различных структур, в том числе для специальных подразделений вооруженных сил. Среди прочих, как оказалось, подводные скутеры-буксировщики, закупает и российская армия. О подобном сотрудничестве зарубежного предприятия и российского министерства обороны рассказал главный конструктор фирмы Rotinor Энтони Симмондс.
Любопытные сведения были оглашены в ходе международной выставки Indo Defence 2016, проходившей в индонезийской Джакарте. Э. Симмондс рассказал, что его предприятие сотрудничает с российским военным ведомством с 2013 года. За прошедшие три года было подписано несколько контрактов на поставку оборудования, предлагаемого для использования боевыми пловцами. Последний на данный момент контракт был подписан в этом году. В 2017-м планируется заключить еще одно соглашение на поставку определенной техники. Главный конструктор подводных скутеров не стал раскрывать подробности контрактов, сославшись на деликатность темы.
В то же время, конструктор упомянул модель техники, поставляемой российским военным. Спецподразделения страны-заказчика получают подводные буксировщики модели Seabob BlackShadow 730 (SBS 730). Изготовляются и передаются заказчику аппараты, рассчитанные для буксировки двух или четырех пловцов. Прочие подробности соглашений, такие как количество и сроки поставки техники, пока не подлежат публикации по вполне понятным причинам. Кроме того, обе стороны международных договоров не уточняют, какие именно подразделения становятся эксплуатантами получаемой техники.
Общий вид скутера SBS 730
Компания Rotinor является известным производителем буксировщиков для аквалангистов. Она выпускает несколько моделей подобной техники, отличающихся некоторыми особенностями конструкции и характеристиками. При этом все образцы скутеров основываются на одних и тех же идеях, а также унифицированы по некоторым узлам и агрегатам. Основные наработки и изделия, лежащие в основе продукции компании, запатентованы, что дает производителю определенные преимущества перед конкурентами.
Проект Seabob BlackShadow 730 создавался в конце прошлого десятилетия. В 2010 году компания Rotinor впервые представила свою новую разработку. Для более успешного продвижения на рынке полноценные образцы, макеты и рекламные материалы регулярно появлялись на различных выставках вооружений и военной техники. Результатом такой рекламы стало получение нескольких заказов на поставку техники вооруженным силам разных стран. Известно о закупке такой техники специальными подразделениями США, Испании, Ирландии и других стран. Кроме того, значительное число подводных аппаратов в соответствующей комплектации было приобретено различными организациями или частными лицами.
Изделие Rotinor SBS 730 представляет собой сравнительно крупный подводный аппарат, оснащенный набором различного оборудования того или иного назначения. Основной задачей скутера является буксировка пловцов, позволяющая быстро попасть в требуемую точку. Для этого он оснащается водометным движителем оригинальной конструкции и средствами навигации. В базовой конфигурации Seabob BlackShadow 730 способен буксировать двух аквалангистов. Заявлена возможность доработки тех или иных элементов буксировщика в соответствии с пожеланиями заказчика. В частности, аппарат может использовать навигационную систему требуемого типа.
Вид сверху
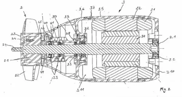
SBS 730 имеет корпус обтекаемой формы, позволяющий снизить сопротивление среды при движении на всех допустимых скоростях и глубинах. Нос корпуса выполнен в виде агрегата сложной формы, образованной несколькими изогнутыми плоскостями. При этом нижняя часть носа имеет узкий участок, переходящий в соответствующий выступ днища. В центральной части носа предусматриваются два углубления для монтажа фар. Еще один характерный уступ находится выше. Крупный носовой обтекатель занимает около трети общей длины аппарата.
Бортовые агрегаты носового обтекателя получают срезанную заднюю часть, что необходимо для размещения пловца-водителя. Одновременно с этим центральная часть обтекателя сохраняет свою высоту, после чего плавно переходит в агрегат, над которым должен размещаться аквалангист. Кормовая часть корпуса имеет сечение, близкое к прямоугольному. На кормовой стенке располагается круглое сопло водометного движителя. Проектом Seabob BlackShadow 730 предусматривается необычная конструкция днища. Зауженная часть носа переходит в агрегат прямоугольного сечения, проходящий под центром корпуса и выполняющий функции киля. Под местом водолаза на бортах корпуса имеются выступающие входы водометного движителя. Для улучшения основных параметров корпус получил бортовые продолговатые элементы, соединяющие широкую носовую часть с кормой. Рядом с входными окнами движителя в них имеются отверстия необходимого размера.
Компоновка буксировщика
Носовая и центральная части корпуса отдаются под размещение аккумуляторов, части систем управления, навигационной аппаратуры и т.д. Примечательно, что высокие требования к дальности хода привели к использованию крупного отсека аккумуляторных батарей. Объем для их размещения начинается в носовой части корпуса и продолжается почти до места водолаза. Узкая кормовая часть скутера вмещает двигатель и устройства водометного движителя.
Все органы управления помещаются на внешней поверхности корпуса. Для контроля за работой систем предлагается использовать приборную доску с индикаторами, помещенную непосредственно на верхней поверхности корпуса. Рядом с ней имеется небольшой дополнительный пульт. Основными органами управления являются две рукоятки, помещенные по бокам от центрального агрегата, в нишах позади обтекателя. На этих рукоятках также имеется набор кнопок. Некоторые образцы скутера оснащаются дополнительным прозрачным козырьком, помещенным перед приборной доской.
В корме аппарата SBS 730 помещается движитель типа E-Jet. Это устройство представляет собой очередной вариант водометного движителя с электрическим приводом. В его конструкции применяются некоторые оригинальные идеи, что позволило компании-разработчику получить патент на такое изобретение. В собранном виде E-Jet представляет собой устройство, состоящее из двух основных частей. Носовой отсек, выполненный в виде цилиндра с головным и хвостовым обтекателями, является кожухом ходового двигателя. К хвостовому обтекателю присоединяется ротор, помещенный внутри кольцевого канала.
Использование аппарата одним пловцом
Движитель E-Jet в собранном виде помещается в продольном канале кормовой части корпуса буксировщика. Забор окружающей воды предлагается производить при помощи бортовых входов, после которых она поступает в единую трубу. Центральная часть трубы имеет увеличенное сечение, что связано с компоновкой движителя и местоположением двигателя. Позади кожуха двигателя канал сужается до диаметра ротора. Для улучшения параметров потока и получения максимально возможных характеристик за ротором имеется еще один конический обтекатель, а канал сопла выполнен сужающимся.
Через системы управления, контролирующие параметры его работы, двигатель соединяется с батареей литий-ионных аккумуляторов. Система управления скутером-буксировщиком позволяют ступенчато регулировать мощность двигателя. Максимальная мощность двигателя составляет 7 л.с. и может изменяться с шагом в 10%. От выбранной мощности электродвигателя зависит скорость передвижения и расход энергии аккумуляторов, сказывающийся на дальности плавания.
Схема движителя E-Jet из патента на изобретение
Общая длина аппарата Rotinor Seabob BlackShadow 730 составляет 1,76 м, ширина – 0,47 м. Масса буксировщика на воздухе – 110 кг. Максимальная скорость движения достигает 6,2 узла. Максимальная дальность плавания – 11 морских миль. Конструкция изделия позволяет совершать погружения на глубину до 60 м. Тем не менее, при этом требуется соответствующая подготовка личного состава. При работе двигателя на 50% мощности скутер может работать в течение 3 часов 15 минут. Увеличение мощности до 70% приводит к сокращению времени работы до 2 часов 10 минут. После истечения этого времени аккумуляторы нуждаются в перезарядке.
Подводный буксировщик SBS 730 управляется одним человеком. Во время движения он должен держаться за рукоятки управления, при этом его тело находится над кормовой частью корпуса аппарата, не мешая работе водометного движителя. Одновременно с этим обеспечивается хорошая видимость приборной доски и ее индикаторов. Также возможно использование скутера для буксировки двух аквалангистов. Второй человек в таком случае должен держаться за водителя. Маневры должны осуществляться путем изменения взаимного положения аквалангиста и буксировщика. Такие действия приводят к изменению направления вектора тяги и выполнению требуемого маневра.
Проектом предложено использование развитого комплекса средств навигации. В соответствии с пожеланиями заказчика, SBS 730 может оснащаться электронным компасом и средствами спутниковой навигации. Тип используемой спутниковой системы определяется покупателем. Кроме того, в носовой части корпуса может монтироваться активная гидроакустическая станция с цифровой обработкой данных. Дополнительным средством упрощения навигации в подводном положении являются носовые фары. Предлагаемый комплекс средств позволяет осуществлять управление буксировщиком в различных условиях, в том числе и при плохой видимости.
SBS 730 на выставке AAD 2010 в ЮАР
С точки зрения общих характеристик скутер Seabob BlackShadow 730 является неплохим представителем своего класса техники. В то же время, заявлены некоторые преимущества такой разработки перед аналогами. Главные плюсы проекта связаны с применением оригинального водометного движителя. Изделие E-Jet создает повышенное давление позади ротора, что позволяет более эффективно использовать мощность двигателя. Кроме того, правильная архитектура движителя позволяет исключить образование пузырькового следа позади сопла. Отсутствие подобных демаскирующих признаков и физических полей позволяет обеспечить малозаметность буксировщика и его «пассажиров». Таким образом, боевые пловцы получают возможность скрытно выдвигаться в район выполнения поставленной задачи.
Подводный буксировщик SBS 730 позиционируется производителем как разработка, приспособленная для использования специальными подразделениями вооруженных сил, тогда как другая продукция компании Rotinor может использоваться иными эксплуатантами. По имеющимся данным, к настоящему времени скутеры немецкого производства уже успели заинтересовать потенциальных заказчиков и стать предметом нескольких контрактов на поставку серийной продукции. Достоверно известно о закупках аппаратов Seabob BlackShadow 730 силами специальных операций Ирландии, Испании и Корпуса морской пехоты США. Кроме того, согласно некоторым источникам, в общей сложности такую технику приобрело около двух десятков стран.
Пара пловцов с буксировщиками фирмы Rotinor
В некоторых источниках упоминается, что компания Rotinor не имеет полноценного и постоянно работающего серийного производства подводных аппаратов. Подобная техника выпускается в составе партий определенного объема, заказываемых покупателями. По разным данным, стоимость одного аппарата составляет 60-80 тыс. евро. При необходимости доработок конструкции в соответствии с пожеланиями заказчика стоимость может увеличиваться.
Благодаря последним заявлениям главного конструктора подводной техники, стало известно, что среди заказчиков продукции компании Rotinor присутствуют и российские военные. Первый российско-немецкий договор на поставку буксировщиков, по имеющимся данным, появился в 2013 году. В дальнейшем было подписано еще несколько подобных соглашений. Очередной контракт должен появиться в следующем году. Подробности имеющихся договоров, тем не менее, не оглашаются по причине секретности: получателем новой импортной техники являются структуры, особенности работы которых не должна становиться достоянием общественности.
Сотрудничество российского министерства обороны и немецкой коммерческой компании вызывает определенный интерес, однако при этом является поводом для появления определенных вопросов, касающихся причин закупки иностранной продукции. Наличие заказов специальной техники показывает ее необходимость. В то же время, отечественная промышленность, насколько известно, пока не может предложить военным специализированные подводные скутеры с требуемыми характеристиками, приспособленные для использования спецподразделениями. В подобной ситуации военное ведомство было вынуждено заказать необходимые изделия заграничного производства.
Боевые пловцы сил специальных операций Испании и их буксировщик
Тем не менее, по некоторым данным, разработка подобной техники уже ведется, однако пока такой проект находится на стадии проектирования. В сентябре этого года заместитель главного конструктора СПМБМ «Малахит» по вооружению Андрей Курносов рассказал, что в настоящее время специалисты бюро занимаются разработкой перспективного скутера, способного передвигаться в надводном и подводном положении. Однако отмечалось, что речь идет о разработке гражданского назначения. Возможно, в дальнейшем новые идеи и решения будут использоваться в военной сфере, однако пока об этом говорить рано.
В итоге складывается неоднозначная ситуация. Армия, прибегнув к помощи зарубежных специалистов, смогла получить требуемые образцы техники для боевых пловцов. Имеющаяся задача была успешно решена, и, как показывают последние заявления Э. Симмондса, сотрудничество в этой области будет продолжаться. Одновременно с этим наблюдается неудовлетворительная ситуация с собственными разработками аналогичного класса. Насколько известно, отечественные предприятия пока не предлагали министерству обороны проекты подводных скутеров-буксировщиков, пригодных для использования в специальных подразделениях.
Остается надеяться, что существующие нужды вооруженных сил будут оформлены в виде технического задания для отечественной промышленности, благодаря чему появятся новые собственные проекты требуемой техники. Армии нужна новая техника различных типов, часть которой в нашей стране пока не производится. В существующих реалиях освоение производства образцов совершенно новых для нашей страны типов и классов является важнейшим делом и поэтому должно иметь соответствующий приоритет.
