Маленький модуль оживил огромный "Ленинград-006-стерео"
Вот и запела в полный голос дитя советской радиопромышленности высшего класса. Напомню, радиоприемник 1979 года выпуска, но даже 42 года спустя он звучит так же прекрасно,.
Как только у меня появился этот радиоприемник, я стал собирать информацию по его восстановлению, дабы второй раз не наступать на грабли предшественников на этом поприще.
ДВ диапазон уже точно не нужен, а вот на СВ еще хотелось бы погонять утренний эфир-в это время, за счет активности ионосферы, слышны очень дальние радиостанции. Но в городе нет смысла этим заниматься-помехи, а на дачу выезд только следующей весной. КВ диапазон сейчас совсем скучный: западные "Голоса" уже не видят в нас идеологическую силу и свои пропагандистские радиостанции позакрывали. Остается только слушать УКВ вещание, которое теперь не в советском диапазоне (66-73МГц).
Для этого прежде всего надо переделать УКВ модуль. Схема уже есть в интернете:
При должной аккуратности и внимательности, после такой доработки, УКВ модуль заработает в современном диапазоне 88-108 МГц. Вот дальше из серии "как повезет". Много жалоб, что автоматическая подстройка частоты (АПЧ) частенько теряет сигнал, так же часты жалобы на неравномерную чувствительность по диапазону: какие то радиостанции ловит отлично, а какие то с шумами-даже антенна не спасает. Так же рекомендуют проверить приборами настройки фильтров УПЧ. Ну и модуль стереодекодера просто можно выбросить-от него толку нет.
К сожалению, сделать все это качественно сейчас времени нет, а делать "и так сойдет" не хочется. Поэтому я сразу вспомнил про интересную плату УКВ радиоприемника из поднебесной-этакий "модуль с мизинчик".
Меня поразила отличная чувствительность и приятное звучание. Вот его и решил поставить в "Ленинград"и с этого модуля подать сигнал сразу на вход усилителя.
Для питания этого УКВ модуля нужно напряжение от 3,7 В до 6 В. В радиоприемнике у нас 12 вольт, поэтому я сразу на модуль поставил стабилизатор на 5 Вольт (КРЕНку).
С местом размещения так же не стал церемонится: на радиоприемнике раскрошились стойки кнопок блока УПЧ-АМ-ЧМ. Этот модуль мне не нужен и я просто убрал панель этих кнопок, а сами переключатели П2К не мешают.
Из черного пластика сделал новую панель уже под китайский УКВ модуль.
Вот с сопряжением УКВ модуля с усилителем "Ленинграда" пришлось повоевать. Модуль очень приятно звучал на наушники, но при подаче сигнала на усилитель звук менялся. Поколдовав немного выяснил, что для качественного звука модулю обязательно нужна нагрузка. Обмануть, заменив наушники на резистор аналогичного сопротивления, не удалось. Хорошо старые наушники есть-отрезал оттуда половинку и припаял к плате-качество звучание вернулось.
Заменил все электролитические конденсаторы на блоке питания и на усилителе низкой частоты. Все было чудненько, пока я случайно не заметил, что один из новых конденсаторов странно вздулся. По схеме это фильтр электропитания на плате УНЧ. Там стоял конденсатор 500 мкФ на 16 вольт, а я поставил 2000 мкФ на 16 вольт.
Пришлось срочно заменить, из наличия оказался только 1000х50В. Я уж , грешным делом, начинаю подозревать, что армянские производители конденсаторов перебрались в Китай...
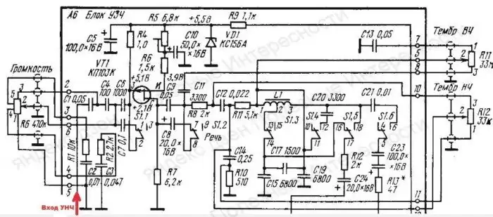
На входе усилителя довольно сложная схема тонкомпенсации и фильтров
По честности я так до конца и не победил эту схему: на самой низкой громкости начинаются непонятные искажения с потерей НЧ составляющей. Стоит чуток добавить громкости-все нормализуется.
Не удержался от соблазна и сделал зеленую подсветку шкалы ДВ-СВ. Искал ленту с желтыми светодиодами-нет в наличии, а с зеленными светодиодами у меня давно лежит. Вот и размесил две полосы-получилось очень равномерная и приятная подсветка шкалы. Надо будет сделать отдельный короб и под вторую шкалу.
Друзья вообще посоветовали сделать подсветку из адресной светодиодной ленты-тут и какой хочешь цвет подсветки выбирай, можно запросто сделать, чтобы работали в режиме анализатора спектра(2 шкалы это 7 отдельных окошек). Даже можно перевести такую ленту в режим цветомузыки.
Самый приятный сюрприз ожидал, когда я закрыл заднюю крышку приемника-звучание стало заметно сочнее. Все таки отличный радиоприемник сделали ребята из Всесоюзного Научно Исследовательского Института Радиоприёма и Акустики (ВНИРПА).























