Самые абсурдные патенты
Большинству из нас нравится, что уголки электронных устройств не острые, а слегка закруглённые. И Apple, зная об этом, сумел вовремя сориентироваться и запатентовал всю концепцию. Так что теперь если вам захочется производить прямоугольные вещицы со скруглёнными углами, наймите, на всякий случай, хорошего адвоката. Для компании Samsung, например, очередная патентная война завершилась потерей 1,5 миллиардов долларов.
Это не первый чересчур «обобщённый» патент в истории, и уж точно не последний. Мы составили список патентов самого широкого охвата, которые, по понятным причинам, были нарушены бесчисленное количество раз:
“Круглое устройство для облегчения транспортировки»
Как бы путано не звучала формулировка, означает она всего-навсего обычное колесо. Права на изобретение, которому не меньше пяти тысяч лет, были выданы в 2001 году австралийцу Джону Кеогу. Он подал заявку с одной целью — чтобы продемонстрировать абсурдность австралийской патентной системы. Получилось.
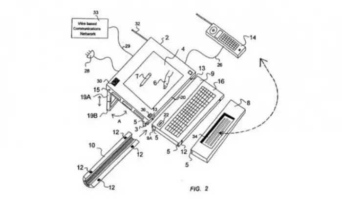
“Система беспроводной коммуникации”
Довольно расплывчатая формулировка, не правда ли? В 1999 году компания NetAirus Technologies подала заявку на всё беспроводное, что связано с коммуникацией, и в 2006 году получила патент. Из-за того, что описание запатентованного изобретения слишком общее, а сама NetAirus ничего такого не производит, руководство компании решило подать иск к Apple. Разбирательство тянется по сей день.
“Способ качаться на качелях”
Согласно патенту, выданному в 2002 году, качание на качелях теперь — искусство, защищённое авторским правом. Документ включает в себя рисунок с изображением болтающихся качелей. Сам способ не тот, что хорошо знаком всем нам с детства: ноги вперёд, ноги назад. Этот новый метод предполагает попеременное дёргание то за правую, то за левую верёвку и раскачивание из стороны в сторону.
«Способ прикрывать лысину»
В 1977 году пара изобретателей из Флориды получила патент на способ зачёсывания остатков мужских волос, позволяющий замаскировать лысину.




