Отечественная подводная лодка проекта 613Э
Первая в мире, оснащенная энергетической установкой с
электрохимическими генераторами.
Основное тактическое свойство подводных лодок - это скрытность. Но только атомные ПЛ могут в полной мере реализовать это преимущество. Несмотря на то, что дизель-электрические ПЛ обладают боле низким уровнем подводного шума, они вынуждены периодически (раз в 1 – 3 дня на 6 – 12 часов) всплывать в надводное положение или на перископную глубину для проведения заряда аккумуляторных батарей. На этот промежуток времени они превращаются в беззащитную надводную цель, ограниченную в способности маневрировать и доступную для обнаружения всеми средствами морской разведки.
Неспособность дизель-электрических подводных лодок с заданной степенью эффективности выполнять поставленные боевые задачи в условиях господства противник на театре боевых действий наглядно показали «Битва за Атлантику» в период 2 Мировой войны и Карибский кризис.
Решением этой проблемы (увеличением времени пребывания под водой) для дизель-электрических (неатомных) ПЛ стали воздухонезависимые (анаэробные) двигатели. Одним из самых перспективных типов воздухонезависимых энергетических установок для ПЛ являются энергетические установки с электро-химическими генераторами (ЭУ с ЭХГ). Советский Союз был первым (опередил на 1 год ФРГ), кто начал испытания подводной лодки на которой энергетическая установка была оснащена ЭХГ.
В СССР работы по созданию неатомной ПЛ (НАПЛ) с ЭХГ начались в первой половине 70-х гг. XX века в СКБ «Судопроект» (в настоящее время ОАО ЦКБ «Лазурит», г. Нижний Новгород). Для испытаний и отработки ЭУ с ЭХГ в 1979 г. в ЦКБ «Лазурит» был разработан технический проект переоборудования дизель-электрической ПЛ проекта 613 в опытную подводную лодку проекта 613Э (главный конструктор В.С.Пермяков , с 1988 г. Р.И.Лафер).
На этой НАПЛ был установлен ЭХГ-генератор мощностью 280 кВт. В качестве рабочих реагентов использовались криогенные водород и кислород, хранившиеся в ёмкостях вне прочного корпуса корабля. Энергетическая установка с ЭХГ-генератором включала 28 блоков источников постоянного тока на базе низкотемпературных водород-кислородных топливных элементов с металлокерамическими электродами и жидким электролитом. Данная ЭУ с ЭХГ обеспечивала электроэнергией гребные электродвигатели и общекорабельные потребители в режиме экономического хода.
Отработка этого типа ЭУ велась параллельно на целом ряде наземных и плавучих стендов, где исследовались вопросы её эксплуатации в морских условиях, а также вопросы взрыво-пожаробезопасности.
Переоборудование ПЛ С-273 для проведения морского этапа испытаний энергетической установки с электро-химическими генераторами завершено в 1986 г. Переоборудование осуществлялось при сохранении неизменным прочного корпуса и проведением уширения наружного корпуса и надстройки, в которой расположены цистерны – хранилища реагентов ЭХГ. Установка ЭХГ с обслуживающим оборудованием размещена в отдельном отсеке за центральным постом вместо демонтированных жилых помещений и второй группы АБ. С подводной лодки было также снято торпедное вооружение и один дизель.
В 1988 г. подводная лодка С-273 проекта 613Э успешно завершила межведомственны и государственные испытания в ходе которых была подтверждена принципиальная возможность эксплуатации подобного типа воздухонезависимых энергетических установок на подводных лодках. Весь объем испытаний первой в мире ПЛ с ЭХГ был завершен в 1989 году.
ТТХ ПЛ С-273 пр. 613Э
Чертеж общего расположения ПЛ пр. 613Э
1 - цистерны - хранилища реагентов ЭХГ
2- прочная рубка
3- жилой отсек
4- аккумуляторный отсек
5- центральный пост
6- отсек установки ЭХГ
7- дизельный отсек
8- электромоторный отсек
9- кормовой отсек
2- прочная рубка
3- жилой отсек
4- аккумуляторный отсек
5- центральный пост
6- отсек установки ЭХГ
7- дизельный отсек
8- электромоторный отсек
9- кормовой отсек
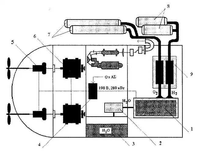
Схема энергетической установки с ЭХГ ПЛ С-273 пр.613Э
1- блок топливных элементов
2- схема отвода и охлаждения продуктов реакции
3- цистерна сбора продуктов реакции
4- распределительный электрощит питания гребных электродвигателей
5- гребной электродвигатель экономического хода
6- главный гребной электродвигатель
7- ёмкости хранения криогенного кислорода
8- ёмкости хранения криогенного водорода
9- система обеспечения ЭХГ реагентами
2- схема отвода и охлаждения продуктов реакции
3- цистерна сбора продуктов реакции
4- распределительный электрощит питания гребных электродвигателей
5- гребной электродвигатель экономического хода
6- главный гребной электродвигатель
7- ёмкости хранения криогенного кислорода
8- ёмкости хранения криогенного водорода
9- система обеспечения ЭХГ реагентами
Схема водородно-кислородного ЭХГ
1- восстановитель
2- окислитель
3- катод
4- отвод продуктов реакции
5- нагрузка
6- электролит
7- анод
Зарубежные аналоги
2- окислитель
3- катод
4- отвод продуктов реакции
5- нагрузка
6- электролит
7- анод
Зарубежные аналоги
Первая иностранная ПЛ энергетическая установка которой была оснащена электро-химическими генераторами появилась в ФРГ в 1988 году. В это время на немецкой верфи «Ховальдсверке дойче верфт» были завершены работы по врезке в корпус ДЭПЛ U-1 проекта 205 дополнительной секции с блоком ЭХГ. Испытания этого корабля были успешно проведены в период с 1988 по 1993 года, а полученные результаты использованы при создании первой в мире серии неатомных ПЛ с электро-химическими генераторами проекта 212.






